les accessoires de carrosserie industrielle
04 • 9

 

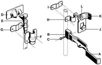
  KIT CRÉMONE EN APPLIQUE ø 27 MM  

Kit crémone en applique
Kit zingué pour crémone ø 27 mm
Référence Désignation Quantité
A 04.00.512 Poignée 1
B 04.00.513 U de poignée 1
C 04.00.137 Rivet de poignée 1
D 04.00.515 Gâche 2
E 04.00.516 Pêne 2
F 04.00.517 Collier 2
G 04.00.518 Contre collier 2
H 04.00.519 Collier intermédiaire 2
I 04.00.520 Contre collier intermédaire 2
J 04.00.521 Plaque d'arrêt 1
K 04.00.522 Bascule 1
L 04.00.145 Bague de bascule 1
Plan coté kit crémone en applique ø 27 mm

04.00.552 Kit crémone en applique ø 27 mm 5,500 kg ZINGUÉ

carrosserie industrielle     Sommaire     Index alphabétique     Index des références

Pages   1,   2,   3,   4,   5,   6,   7,   8,   9,   10,   11,   12,   13,   14,   15,   16,   17,   18,   19,   20,   21,   22,   23,   24,   25,   26,   27,   28,   29,   30,   31,   32,   33,   34,   35,   36,   37,   38,   39,   40,   41,   42